選択した画像 六角 ナット 1 種 2 種 使い分け 129046
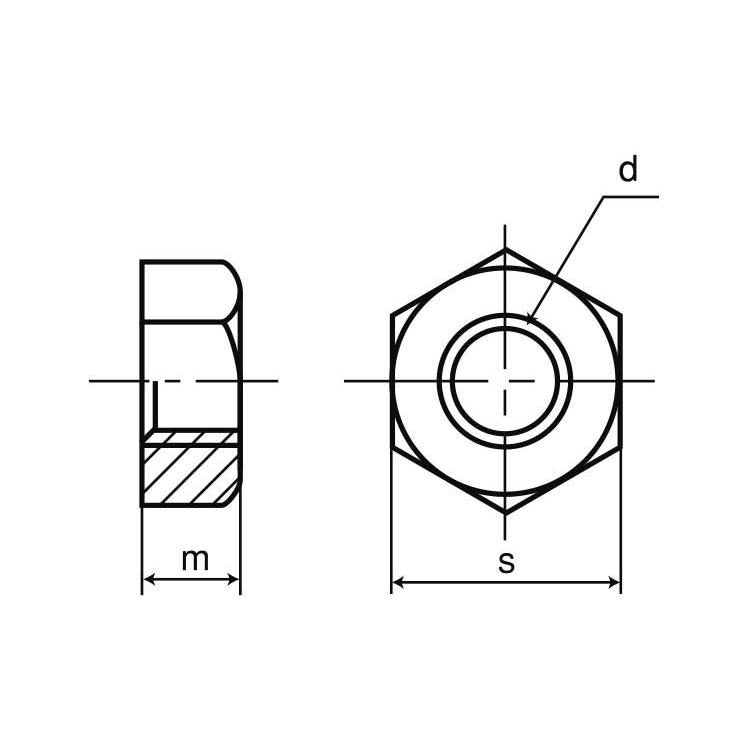
両面面取りされた六角ナットで、一般的な六角ナットより対面幅が小さくなった小形の六角ナットです。 小形 六角ナット(2種)がこの形状になります。 スパナ、レンチなどの工具を使用して締め付けます。 実例ナットの形状 ・1種片面取りで高さが呼び径の約8割(例M10=高さ8mm) ・2種両面取りで高さが呼び径の約8割(例M10=高さ8mm) ・3種両面取りで高さが呼び径の約6割(例M10=高さ6mm) ・4種上部に面取り、下部に座付一般的にあまり市場では使用頻度は少ないナットです。 高さは1、2種と同じで呼び径の約8割(例M10=高さ8mm)です。 ナットの形状 ・1種片面取りで高さが呼び径の約8割(例M10=高さ8mm) ・2種両面取りで高さが呼び径の約8割(例M10=高さ8mm)
六角ナットjis規格サイズ早見表と3種類の違い Alumania Information
六角 ナット 1 種 2 種 使い分け
六角 ナット 1 種 2 種 使い分け-また、ナットには(JISでは)1~3種のナットが規定 されています、1種はネジの呼び径の8割の厚さがあり、 (M8でしたら64ミリ) 3種は6割の厚さの、薄いナットです。 ダブルナットを締めるときには、先ず1種ナットを標準締付四角ナット -jis b 1163- 一般的な六角形ではなく、四角形のナット。板ナットとも呼ばれます。取り付ける材料の角や隙間にあわせてナットを固定することで、ナットを押さえなくてもボルトを締めることができます。


ナイロンナット 富田螺子株式会社
1種,2種及び4種の場合 上,中,並 5H,6H,7H 4T,5T,6T,8T, 10T 鋼 ねじの呼び径が,39 mm以下の 3種及び42 mm以上の場合 − ステンレス鋼 非鉄金属 小形六角ナット 鋼(1種,2種及び4種の場合) 上,中 5H,6H,7H 4T,5T,6T,8T 鋼(3種の場合) −両面面取りされた六角ナットで、一般的な六角ナットより対面幅が小さくなった小形の六角ナットです。 小形 六角ナット(2種)がこの形状になります。 スパナ、レンチなどの工具を使用して締め付けます。 実例JIS B 1181 六角ナット 1種 のフリーCADデータです。2Dはdwgとdxf、3Dはiptとstepです。stepにはねじの描写がありません。
溝付ナットの種類について ・2種高型ーみぞ部分が六角部から上に出て、ナットの高さがある タイプで一番一般流通品でサイズも豊富 ・1種高型ーみぞ部分が六角部に切り込みがあり、 ナットの高さがあるタイプで小径サイズ中心 ・2種低型ーみぞ部分が六角ナット(英 Hexagon Nuts JIS B 1181)1種ナット(8割ナット)厚さがねじサイズの約8割のもので主に片面取り;・1種高型ーみぞ部分が六角部に切り込みがあり、 ナットの高さがあるタイプで小径サイズ中心 ・2種低型ーみぞ部分が六角部から上に出てナットの高さが低いタイプで ナットの高さが気になる所に使用します。
1種,2種及び4種の場合 上,中,並 5H,6H,7H 4T,5T,6T,8T, 10T 鋼 ねじの呼び径が,39 mm以下の 3種及び42 mm以上の場合 − ステンレス鋼 非鉄金属 小形六角ナット 鋼(1種,2種及び4種の場合) 上,中 5H,6H,7H 4T,5T,6T,8T 鋼(3種の場合) −パック n ユニクロ/鉄 六角ナット W3/816 2種(ウイット)個 〈1個当り25円〉 個 500円14 981 (M60) 48 36 90 104 87 M64 51 0 12 38 95 110 92 備考 ねじの呼びに括弧を付けたものは、なるべく用いない。 六角ナット Hexagon Nuts 仕上げ程度:中(M6未満は仕上げ程度:上) (ISO 4032~4036及びISO 8673~8675によらない六角ナット)JIS B 1181:09より抜粋 ° ° ° m m 1種


Hnt1 St M38 六角ナット 1種 切削 極細目 sunco Misumi Vona ミスミ


六角ナット 1種 ウィットねじ ステンレス 大阪魂 六角ナット 1種 通販モノタロウ W1 2
Sus316/生地 六角ナット 2種M22 小箱 : 1箱/50個入り鋼(ねじの呼び径が39mm以下の1種、2種、及び4種の場合) 上、中、並 鋼(ねじの呼び径が39mm以下の3種及び42mm以上の場合) ステンレス鋼 非鉄金属 小形六角ナット 鋼(1種、2種及び4種の場合) 上、中 鋼(3種の場合) ステンレス鋼 非鉄金属「六角ナット1種」をお探しですか?このページでは、代表的な「六角ナット1種」の規格を、図面・寸法表(jis b 1181:14 抜粋)・画像などで分かりやすくご紹介。午前中のお見積り依頼には即日回答いたします(当社営業日/規格品・在庫品に限り)。


Uナット 1種 2種 スチール ステンレス 冨士精密 Misumi Vona ミスミ


真鍮 六角ナット 1種 M1 4 太さ 1 4mm 用 バラ売り 10個入り M0010c B ネジのトミモリ 通販 Yahoo ショッピング
六角ナット(英 Hexagon Nuts JIS B 1181)1種ナット(8割ナット)厚さがねじサイズの約8割のもので主に片面取り;TRUSCO 六角ナット(1種・真鍮) TRUSCO 六角ナット1種 真鍮ニッケル M×2.5 2個入 08月15日 0005時点の価格・在庫情報です。1種,2種及び4種の場合 上,中,並 5H,6H,7H 4T,5T,6T,8T, 10T 鋼 ねじの呼び径が,39 mm以下の 3種及び42 mm以上の場合 − ステンレス鋼 非鉄金属 小形六角ナット 鋼(1種,2種及び4種の場合) 上,中 5H,6H,7H 4T,5T,6T,8T 鋼(3種の場合) −


ナット 規格 寸法表


Q Tbn And9gcq2efuv Erfs12zjsvlcqjfx2mnforwcy2n3zagbvawqyc 6pfu Usqp Cau
ご覧のとおり 厚さが異なります。(1種は呼び径の8割、3種は呼び径の6割) 2種というのもあります。 2種は厚さが1種と同じで、両面取りが施されたものです。向きを確認して、ねじ込む必要がないので自動化や省力化に好まれます。 六角ナットの材質


解説 旧jisとiso準拠のナット 1種とかスタイル1とか


Amazon アルミ 生地 六角ナット 1種 m3 10個 六角ナット 産業 研究開発用品 通販


M16 六角ナット3種 鉄 ユニクロ 1パック 12個 大阪魂 通販サイトmonotaro


六角ナット 規格表 ねじの問題解決 ねじの専門商社 池田金属工業株式会社


アスクル トラスコ中山 Trusco Trusco 六角ナット1種 ステンレス サイズm3x0 5 110個入 B25 0003 160 7111 直送品 通販 Askul 公式


真鍮 六角ナット 1種 細目 M18 太さ 18mm 用 ピッチ 1 5 バラ売り 1個入り M0010c B ネジのトミモリ 通販 Yahoo ショッピング


ナットの種類と形状まとめ 18種類一覧で解説 ネジやボルトに関しての情報を発信するメディアです


Q Tbn And9gcs Zy Kxwzup Qwvf5irvjhrymhrcisdjkxjhyvydv6y8eqh6bx Usqp Cau


真鍮 六角ナット 1種 細目 M18 太さ 18mm 用 ピッチ 1 5 バラ売り 1個入り M0010c B ネジのトミモリ 通販 Yahoo ショッピング


ゆるみ止めナット ブラインドナットをはじめ ねじ 特殊圧造品のエキスパート 大阪フォーミング株式会社


本体規格 新jis 附属書 旧jis について プロスパー洸洋株式会社


ステンレス 六角ナット 1種 その他細目


アスクル ファスニング J ステンレス 六角ナット 2種 M3 M 10 1箱 10個 直送品 通販 Askul 公式


ステンレス 六角ナット 1種 細目 M10 太さ 10mm 用 ピッチ 1 0 バラ売り 2個入り M B ネジのトミモリ 通販 Yahoo ショッピング


フランジボルトのjis規格サイズ早見表 Alumania Information


六角ナットjis規格サイズ早見表と3種類の違い Alumania Information


ネコポス対応 鉄 三価ブラック 六角ナット 1種 ウィット W3 8 バラ売り 10個入り


ステンレス 六角ナット 1種 その他細目


製品カタログ ナット ゆるみ止めナット 締結部品の製造 販売 紀州ファスナー


六角ナット 2種 ウィット 材質 ステンレス 規格 3 4 入数 50 Midlothiantsi Org Uk


六角ナット よくわかる規格ねじ


六角ナットjis規格サイズ早見表と3種類の違い Alumania Information


ステンレス 小形 六角ナット 1種 細目 M10 太さ 10mm 用 ピッチ 1 25 バラ売り 2個入り M B ネジのトミモリ 通販 Yahoo ショッピング


本体規格 新jis 附属書 旧jis について プロスパー洸洋株式会社


フランジボルトのjis規格サイズ早見表 Alumania Information


解説 旧jisとiso準拠のナット 1種とかスタイル1とか


フランジボルト よくわかる規格ねじ


六角ナット 1種 旧jis sunco Misumi Vona ミスミ


六角ナットjis規格サイズ早見表と3種類の違い Alumania Information


商品の詳細 サイズ一覧 高強度 鉄 六角ナット 商品の選択 ナット 中分類の選択 大分類の選択 ネジ ボルト ナットのオンライン販売 ねじno1 Com


B 六角ナット1種 真鍮ニッケル M4 0 7 110個入 アウンワークス通販


楽天市場 鉄 生地 溝付ナット 2種 低形 m56 バラ売り 1個入り ネジのトミモリ


3 8 六角ナット 3種 ウィット Sus316 1個 大阪魂 通販サイトmonotaro


M39 六角ナット3種 鉄 ユニクロ 1個 大阪魂 通販サイトmonotaro


ナイロンナット 2種 Nn2シリーズ 巴工業 Misumi Vona ミスミ


Q Tbn And9gcrctvxcfjvm7nupu9jyuiski Aeiljjzho2bidujko9wil5wbi Usqp Cau


M52 六角ナット 1種 細目 鉄 生地 1個 大阪魂 通販サイトmonotaro


鉄 六角ナット 1種 細目 M18 太さ 18mm 用 ピッチ 1 5 バラ売り 4個入り M B ネジのトミモリ 通販 Yahoo ショッピング


日生金属商事株式会社 ねじの何でやねん にお応えするよくある質問


ナット豆知識 ねじナビ


ナット豆知識 ねじナビ


株式会社平井鉄工所


ねじの研究室 ねじの専門商社サンワ アイ 大阪


商品の詳細 サイズ一覧 鉄 六角ナット 細目 商品の選択 ナット 中分類の選択 大分類の選択 ネジ ボルト ナットのオンライン販売 ねじno1 Com


M3 六角ナット1種 純チタン2種 1パック 個 大阪魂 通販サイトmonotaro


ナットの種類と形状まとめ 18種類一覧で解説 ネジやボルトに関しての情報を発信するメディアです


ねじ屋の世界へようこそvol 53 六角ナットのお話 ツルタボルト株式会社


溝付ナット 高形 2種 その他細目の商品一覧 溝付ナット 高形 2種 その他細目 緩み止めナット 通販サイトのネジクル


Uナット 2種 冨士精密 Misumi Vona ミスミ


本体規格 新jis 附属書 旧jis について プロスパー洸洋株式会社


M4 六角ナット1種 純チタン2種 1パック 個 大阪魂 通販サイトmonotaro


製品カタログ ナット ゆるみ止めナット 締結部品の製造 販売 紀州ファスナー


六角袋ナット よくわかる規格ねじ


10 9規格 フランジボルト 1種 M6x30 三価クロメートメッキ


お知らせ 平塚イトウネジ


ねじ専門店 kurukuruwave店長のブログ 六角ナット 1種 2種 3種の違いについて


楽天市場 鉄 ユニクロ 小形 六角ナット 2種 m8 バラ売り 10個入り ネジのトミモリ


ねじの研究室 ねじの専門商社サンワ アイ 大阪


ステンレス 黒染め 六角ナット 1種 M2 5 太さ 2 5mm 用 バラ売り 10個入り M B ネジのトミモリ 通販 Yahoo ショッピング


ナットの基礎知識 ナットの種類 形状 特徴 全18種を解説


アスクル トラスコ中山 Trusco Trusco 六角ナット3種 ステンレス サイズm3x0 5 95個入 B57 0003 160 7511 直送品 通販 Askul 公式


株式会社平井鉄工所


ナイロンナット 2種 Nn2シリーズ 巴工業 Misumi Vona ミスミ


六角ナット 3種 双信工業株式会社


六角ナットjis規格サイズ早見表と3種類の違い Alumania Information


ナイロンナット 富田螺子株式会社


楽天市場 各種ねじ 工具 六角ボルト フランジボルト フランジボルト 7マーク付フランジボルト ネジのトミモリ


M8 六角ナット3種 鉄 ユニクロ 1パック 90個 大阪魂 通販サイトmonotaro


ステンレス 小形 六角ナット 1種 細目 M10 太さ 10mm 用 ピッチ 1 25 バラ売り 2個入り M B ネジのトミモリ 通販 Yahoo ショッピング


商品の詳細 サイズ一覧 鉄 六角ナット 細目 商品の選択 ナット 中分類の選択 大分類の選択 ネジ ボルト ナットのオンライン販売 ねじno1 Com


ナイロンナット 富田螺子株式会社


楽天市場 鉄 生地 六角ナット 2種 m2 バラ売り 10個入り ネジのトミモリ


本体規格 新jis 附属書 旧jis について プロスパー洸洋株式会社


W5 8 六角ナット 1種 ウィットねじ ステンレス 1パック 4個 大阪魂 通販サイトmonotaro


六角ナット1種 Mねじ Wねじ ねじ 製品 商品情報 コンドーテック株式会社


商品の詳細 サイズ一覧 鉄 六角ナット 細目 商品の選択 ナット 中分類の選択 大分類の選択 ネジ ボルト ナットのオンライン販売 ねじno1 Com


Hnt1 S45c Unc1 2 10割 六角ナット 1種 Unc sunco Misumi Vona ミスミ


ねじ屋の世界へようこそvol 53 六角ナットのお話 ツルタボルト株式会社


ステンレス 小形 六角ナット 1種 M12 太さ 12mm 用 バラ売り 2個入り M B ネジのトミモリ 通販 Yahoo ショッピング


ステンレス Sus403 六角ナット 1種 ミリネジ


M4 六角ナット1種 純チタン2種 1パック 個 大阪魂 通販サイトmonotaro


M4 六角ナット1種 ステンレス 1箱 1500個 大阪魂 通販サイトmonotaro


商品の詳細 サイズ一覧 ステンレス 六角ナット 細目 商品の選択 ナット 中分類の選択 大分類の選択 ネジ ボルト ナットのオンライン販売 ねじno1 Com


溝付ナット キャッスルナット 高形2種 sunco Misumi Vona ミスミ


六角ナットjis規格サイズ早見表と3種類の違い Alumania Information


製品案内


六角ナット 1種 旧jis sunco Misumi Vona ミスミ


楽天市場 ステンレス 生地 六角ナット 1種 m3 5 バラ売り 10個入り ネジのトミモリ


六角ナットjis規格サイズ早見表と3種類の違い Alumania Information


Q Tbn And9gct 8kl4xtjgkdun51rl9mlcyji9rqvyxbvjgqrivmy Usqp Cau


ナットの基礎知識 ナットの種類 形状 特徴 全18種を解説


六角ナット 2種 sunco Misumi Vona ミスミ


鉄 六角ナット 1種 切削加工 左ねじ 細目 M 太さ mm 用 ピッチ 1 5 バラ売り 2個入り M B ネジのトミモリ 通販 Yahoo ショッピング


ステンレス 黒染め 六角ナット 1種 M2 5 太さ 2 5mm 用 バラ売り 10個入り M B ネジのトミモリ 通販 Yahoo ショッピング


ステンレス 小形 六角ナット 1種 細目 M10 太さ 10mm 用 ピッチ 1 25 バラ売り 2個入り M B ネジのトミモリ 通販 Yahoo ショッピング


鉄 六角ナット 1種 切削加工 左ねじ 細目 M 太さ mm 用 ピッチ 1 5 バラ売り 2個入り M B ネジのトミモリ 通販 Yahoo ショッピング


六角ナットにおける 1種ナットと2種ナットの使い分けを教えてください Yahoo 知恵袋


ステンレス 六角ナット 2種 細目

コメント
コメントを投稿